Couleur : transparent, extra-clair, bronze, gris, bleu sombre, vert sombre, etc.
Epaisseur : 2 mm, 2.2 mm, 2.5 mm,3 mm, 3.2 mm, 4 mm, 5 mm, 6 mm, 8 mm, 10 mm, 12 mm, 15 mm, 19 mm
Dimension : dimensions personnalisables jusqu’à un maximum de 3660*11000 mm
Normes : GB15763.4-2009 (Chine), EN14179-1:2005 (UE) et DIN18516 (Allemagne)
Le verre trempé thermique subit un processus spécial conçu pour réduire le risque d’éclatement spontané, un défaut courant du verre trempé. Cela signifie que le verre trempé peut se briser tout seul sans aucune force extérieure pendant le traitement, le stockage, le transport, l'installation ou l'utilisation. Un tel événement présente un risque important pour la sécurité de toute personne se trouvant à proximité.
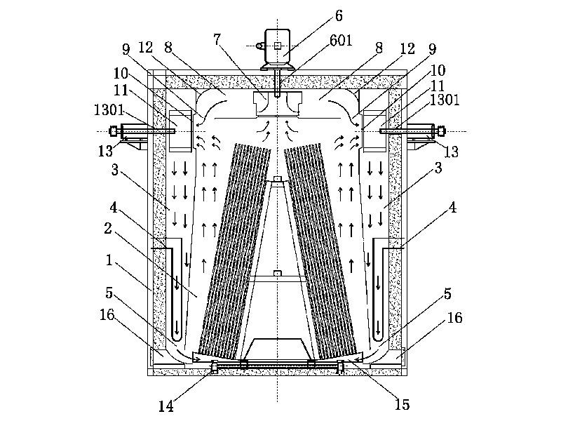
Pour surmonter ce problème, le verre trempé subit un trempage thermique, qui consiste à le chauffer à 290 ℃ dans un four spécialisé et à maintenir une température constante pendant une durée spécifique. Au cours de ce processus, les cristaux de sulfure de nickel présents dans le verre subissent une transformation de phase cristalline rapide, conduisant à une expansion accélérée au sein du verre trempé. En conséquence, tout verre trempé qui aurait autrement pu se briser spontanément après utilisation se brise dans le four d'homogénéisation de l'usine, réduisant ainsi la probabilité de rupture spontanée lors de l'installation et de l'utilisation.
Bien que nous ne puissions pas garantir que le verre trempé par la chaleur n’éclate pas spontanément, notre processus de trempage thermique présente un taux de casse spontanée réduit à environ 0.01%.
En raison de sa haute sécurité, le verre trempé thermique a de nombreuses applications dans les cabines de douche, les armoires de salle de bain, les lucarnes de véranda, les passerelles en verre, les balustrades en verre et le verre des escaliers.
Vous voulez plus d’information concernant ce produit ?
En tant qu’expert de l’industrie du verre, CHINASTRA GLASS sait que les retours positifs de nos clients sont nos arguments les plus convaincants. Nous nous efforçons de gagner la confiance de nos clients internationaux grâce à l’expertise de nos services et à la qualité de nos produits, tels que le verre float, le verre dépoli, le verre réfléchissant ou les miroirs, le verre feuilleté, le verre trempé et d’autres produits à base de verre. Nous proposons des produits de qualité à des prix imbattables. En mettant à votre service plus 20 années d’expérience dans l’industrie du verre, nous proposons une expertise dans de nombreux secteurs d’activité. Notre compréhension des diverses applications des produits en verre nous permet de fournir du verre de construction, du verre décoratif, du verre de décoration d’intérieur, du vitrage automobile, et d’autres produits spécialisés encore.
Basés en Chine, nous fabriquons le verre architectural et décoratif de haute qualité. Rejoignez-nous pour créer des opportunités durables et avoir un succès mutuel !
Contactez-nous